GX型螺旋輸送機
概述
GX型螺旋輸送機是利用螺旋轉動將物料沿機完連續推移而進行輸送的。軸瓦一般采用粉末冶金,吊軸承采用滑動軸承設有防塵密封裝置,吊軸和螺旋軸采用滑塊連接。因此,使得GX型螺旋輸送機具備了結構簡單外形尺寸小,成本低,操作安全,能按工藝要求滿足多點進料和排料等優點。
特點
產品特點
1.整機體積小、轉速高、確保快速均勻輸送。
2.GX型螺旋輸送機承載能力大、安全可靠。
3.出料端設有清掃裝置,整機噪聲低、適應性強,進出料口位置布置靈活。
4.GX型螺旋輸送機適應性強、安裝維修方便、壽命長。
5.密封性好、外殼采用無縫鋼管制作,端部采用法蘭互相連接成一體,剛性好。
GX型螺旋輸送機的制法和裝法說明
GX螺旋機按使用場合要求的不同,分為S制法和D制法兩種。
S制法帶有實體螺旋面的螺旋,其螺距等于直徑的0.8倍。
D制法—帶有帶式螺旋面的螺旋,其螺距等于直徑。
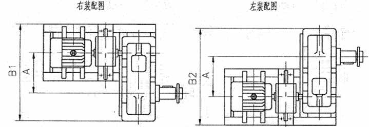
GX螺旋—機按驅動裝置裝配方法的不同,分為右裝和左裝兩種
右裝—站在電動機尾部向前看,減速器低速軸在電動機的右側。
左裝—站在電動機尾部向前看,減速器低速軸在電動機的左側。
GX螺旋機的出料口有方形出料口、手推式出料口和齒條式出料口三種。后兩種出料口拉板的開閉方向,隨安裝不同而分右裝、左裝兩種:
右裝—站在螺旋機頭節往尾節看,拉板向右拉開。
左裝—站在螺旋機頭節往尾節看,拉板向左拉開。
參數
技術性能及技術參數
|
規格 |
主要技術性能 |
驅動裝置 |
重量kg |
|||||
|
直徑 |
長度m |
產量(水泥)t/h |
轉速 轉/分 |
減速機 |
電動機 |
|||
|
型號 |
速比 |
型號 |
功率kW |
|||||
|
GX200 |
~10 |
9 |
60 |
JZQ250 |
23.34 |
Y90S—4 |
1.1 |
726 |
|
GX200 |
~20 |
9 |
60 |
JZQ250 |
23.34 |
Y90L—4 |
1.5 |
1258 |
|
GX250 |
~10 |
15.6 |
60 |
JZQ250 |
23.34 |
Y100L2—4 |
2.2 |
960 |
|
GX250 |
~20 |
15.6 |
60 |
JZQ250 |
23.34 |
Y100L1—4 |
3 |
1750 |
|
GX300 |
~10 |
21.2 |
60 |
JZQ350 |
23.34 |
Y100L2—4 |
3 |
1373 |
|
GX300 |
~20 |
21.2 |
60 |
JZQ350 |
23.34 |
Y112M—4 |
4 |
2346 |
|
GX400 |
~10 |
51 |
60 |
JZQ400 |
23.34 |
Y132S—4 |
5.5 |
1911 |
|
GX400 |
~20 |
51 |
60 |
JZQ500 |
23.34 |
Y160M—4 |
11 |
2049 |
|
GX500 |
~10 |
87.5 |
60 |
JZQ400 |
23.34 |
Y132M—4 |
7.5 |
2381 |
|
GX500 |
~20 |
87.5 |
60 |
JZQ650 |
23.34 |
Y180M—4 |
18.5 |
5389 |
|
GX600 |
~10 |
134.2 |
45 |
JZQ750 |
23.34 |
Y180L—4 |
22 |
3880 |
|
GX600 |
~10 |
134.2 |
45 |
JZQ850 |
23.34 |
Y250M—4 |
55 |
7090 |
表二(mm):

|
螺旋直徑 D
|
A
|
B
|
C
|
E
|
F
|
G
|
b
|
K
|
J
|
M
|
N
|
Q
|
P
|
R
|
T
|
T1
|
X
|
Z
|
d
(dg) |
d1
|
a
|
f
|
I
|
h
|
b
(hs) |
t
|
|
200
|
342
|
384
|
180
|
80
|
140
|
200
|
18
|
25
|
20
|
200
|
200
|
153
|
220
|
110
|
60
|
60
|
123
|
150
|
40
|
16
|
205
|
195
|
80
|
155
|
12
|
43.5
|
|
250
|
392
|
464
|
220
|
140
|
200
|
260
|
20
|
28
|
28
|
200
|
200
|
183
|
270
|
135
|
70
|
70
|
125
|
180
|
50
|
20
|
237
|
225
|
100
|
155
|
16
|
55
|
|
300
|
468
|
555
|
270
|
160
|
240
|
320
|
22
|
28
|
28
|
200
|
200
|
213
|
300
|
160
|
75
|
70
|
130
|
210
|
60
|
20
|
264
|
250
|
120
|
160
|
18
|
65.5
|
|
400
|
572
|
685
|
340
|
220
|
320
|
400
|
22
|
30
|
35
|
300
|
300
|
273
|
350
|
210
|
90
|
85
|
145
|
270
|
80
|
25
|
325
|
310
|
160
|
180
|
24
|
87
|
|
500
|
706
|
823
|
400
|
300
|
400
|
500
|
30
|
35
|
40
|
300
|
300
|
333
|
450
|
264
|
100
|
95
|
165
|
330
|
100
|
25
|
393
|
375
|
200
|
205
|
28
|
108
|
|
600
|
806
|
973
|
500
|
400
|
500
|
600
|
30
|
40
|
40
|
300
|
300
|
383
|
550
|
314
|
110
|
105
|
170
|
380
|
120
|
30
|
433
|
415
|
240
|
205
|
32
|
129
|
注:1、螺旋機輸送長度及尺寸L均見表二、表三。 2、圖n×500為蓋板卡子尺寸,n值視螺旋機長度而定。 3、圖中尺寸p為進出料口中心線。

表三(mm):
| 螺旋直徑 D |
A | B | C | C1 | t | d | 重 量 (公斤) |
圖 號 |
| 200 | 220 | 306 | 272 | 100 | 3 | 9 | 3.64 | GX20·10·00 |
| 250 | 270 | 356 | 330 | 120 | 3 | 9 | 4.80 | GX25·10·00 |
| 300 | 320 | 428 | 386 | 140 | 4 | 13 | 8.88 | GX30·10·00 |
| 400 | 420 | 528 | 492 | 160 | 4 | 13 | 12.42 | GX40·10·00 |
| 500 | 528 | 662 | 612 | 160 | 4 | 17 | 16.56 | GX50·10·00 |
| 600 | 628 | 762 | 720 | 180 | 4 | 17 | 21.20 | GX60·10·00 |
表四(mm):




注:1、當螺旋轉速n=21轉/分時,電動機采用6極。2、表中n-d1當n=8時,圖中有黑圓點的地腳螺栓取消。
用途
GX型螺旋輸送機可使運輸工作減輕勞動強度,提高工作效率,是工農業各部門機械化運輸工作的主要機組應用范圍很廣,不僅適用于水平或傾斜輸送粉狀、粒狀和小塊狀物料,如:煤、灰、渣、水泥、糧食等,也同樣適用于如:建材、化工、電力、冶金、煤炭、糧食等行業。
相關產品
-
LC型立式螺旋輸送機
立式螺旋輸送機適用于輸送各種粉狀物料,如碳黑、面粉、水泥、飼料、化工原料、糧食及再生膠粉等。
立即了解?LC型立式螺旋輸送機
-
LSY型螺旋輸送機
-
螺旋送料機
動態
-
24
2020-09
空氣輸送斜槽的操作注意點講解
輸送斜槽是一種廣泛地應用于輸送干燥粉狀物料的氣力輸送設備,在水泥工業中常用于輸送水泥和生料粉。由于空氣輸送斜槽在輸送物料的過程中沒有運動的零件,所以與同功率的膠帶輸送機、螺旋輸送機、刮板輸送機相比,具有磨損少、易維護、耗電少、用材省、無噪音、密閉..
-
23
2014-08
淺談關于水泥螺旋輸送機的具體優勢
水泥螺旋輸送機螺旋體直徑小,轉速高,輸送量大,精度高,輸送工況佳。螺旋輸送機主要用于輸送水泥、粉煤灰、細砂等粉料及細微粒狀干料。常用于攪拌站、水泥、礦山的設備中。
-
12
2012-03
皮帶輸送機由于振動大減少了懸拱、卡礦現象
振動放礦機是一種以振動電機為激振源的顛振型慣性振動出礦設備,螺旋輸送機廣泛適用于冶金、化工、建材、煤炭等礦業。皮帶輸送機設備制造簡單,安裝工程量小,成本較低。
-
26
2010-07
LS型螺旋輸送機
LS型螺旋輸送機出料端設有清掃裝置,整機噪聲低、適應性強,操作維修方便,被廣泛使用在各種工業部門,如建材、電力、化工、冶金、煤炭、鋁鎂、機械、輕工、糧食及食品行業。
-
04
2012-12
水泥螺旋輸送機的外殼
水泥螺旋送料機的外殼采用優質無縫鋼管通過法蘭各段連接為整體,整體剛性好,水泥螺旋送料機無論是水平還是大傾角均可連續輸送,螺旋送料機被廣泛地使用在各種工業部門,如建材、電力、化工、冶金、煤炭、機械、輕工、糧食及食品行業。
熱銷產品
-
DZSF直線振動篩
DZSF系列直線振動篩是由篩箱、篩框、振動電機、減振系統及座架等組成。直線振動篩是用振動電機作為振動源,固定在篩箱上兩臺相同的振動電機做相反方向自同步旋轉,振動電機所帶的偏心塊在旋轉時各個瞬間位置所產生的離心力之分力沿拋擲方向作往復運動
立即了解?DZSF直線振動篩
-
CZ系列倉壁振動器
-
ZG系列慣性振動器
-
GZ系列電磁振動給料機
GZ系列電磁振動給料機在生產流程中,用于把塊狀、顆粒狀、粉狀物料從貯料倉或漏斗中定量、均勻、連續地給到受料裝置中去。
立即了解?GZ系列電磁振動給料機